





該機是20世紀50年代從原蘇聯引進的,型式較老,雖經改進,但基本機構沒變,且早已定型,形成系列。由于歷史的原因,這種浮選機在我國應用最廣,近年來雖說已被一些新型浮選機取代,但仍在廣泛應用。
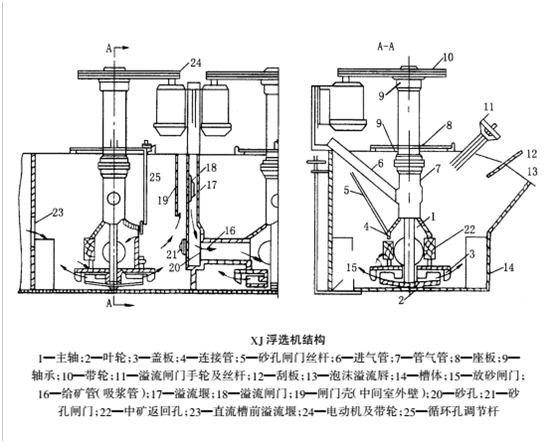
XJ型浮選機的基本結構示于圖5-2-1,它由兩個浮選槽構成一個機組,第一槽(帶有進漿管)為吸入槽,第二槽為直流槽,此二槽之間有中間室。葉輪安裝在主軸下端,主軸上端有皮帶輪,用電動機帶動旋轉??諝庥蛇M氣吸管吸入。每組浮選槽的礦漿水平面由閘門調節。葉輪上方裝有蓋板和空氣筒(又稱豎管)??諝馔采祥_有孔,用來安裝進漿管、中礦返回管或用作礦漿循環,孔的大小可以通過拉桿調節。
該浮選機的主要結構與工作特點:
1)蓋板上裝有18~20個導向葉片,這些葉片傾斜排列,與半徑成55~60度傾角,它們對葉輪甩出的礦漿流具有導向作用。在蓋板上的兩導向葉片之間有18~20個循環孔,供礦漿循環用,由此可增大充其量;
2)葉輪與蓋板導向葉片之間的間隙一般應為5~8mm,過大會對吸氣量和電耗造成不利 影響。通常,將葉輪、蓋板、主軸、進氣管和空氣筒等充氣攪拌零件組裝成一個整體部件(圖5-2-3)這樣可使葉輪和蓋板同心裝配,以保證葉輪與蓋板導向葉片之間的間隙符合要求,而且便于檢修和更換;
3)在空氣筒下部,有一個調節礦漿循環量的循環孔,并且用閘板控制循環量,因此,通過葉輪中心的礦漿量,可隨外界給礦量的變化加以調節。在直流槽中,也可使內部礦漿循環,以滿足在最大充氣量時所需要的葉輪中心給礦量。

XJ型自吸空氣機械攪拌浮選機技術性能 | |||||||
型號 | 有效容積m3 | 處理能力m3/min | 葉輪直徑mm | 葉輪轉速r/min | 電機功率kw | 單槽重量kg | |
攪拌用 | 刮板用 | ||||||
XJ-1 | 0.13 | 0.05-0.16 | 200 | 600 | 1.5 | 0.55 | 320 |
XJ-2 | 0.23 | 0.12-0.28 | 250 | 504 | 3 | 390 | |
XJ-3 | 0.35 | 0.18-0.4 | 300 | 483 | 1.5 | 0.75 | 430 |
XJ-6 | 0.62 | 0.3-0.9 | 350 | 400 | 3 | 1.1 | 860 |
XJ-11 | 1.1 | 0.6-1.6 | 500 | 330 | 5.5 | 1635 | |
XJ-28 | 2.8 | 1.5-3.5 | 600 | 280 | 11 | 2430 | |
XJ-58 | 5.8 | 5-7 | 750 | 240 | 22 | 1.5 | 3633 |
如果您正在尋找相關產品,或者有其他問題,可隨時撥打金鵬礦業機械服務熱線,或點擊下方按鈕與我們在線交流!